Motorpost Daily
All things automotive
IndustryOctober 18, 20253 min

Porsche's Ambitious W12 Engine Patent: A New Era for Supercars?

Priya Nair

Priya Nair

Reports on manufacturing, labor and earnings with clear, practical context. Drives a Tesla Model 3 RWD; family hauler is a Volvo XC60.

Share
Automotive

In an era where automotive innovation increasingly leans towards electrification, Porsche's recent patent for a new W12 engine stands out as a bold commitment to high-performance internal combustion technology. This development is particularly intriguing following Bentley's decision to phase out its own W12 engines, leaving enthusiasts and industry experts speculating about Porsche's strategic intentions.

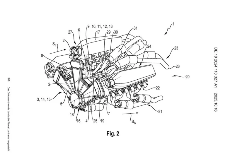
Porsche's W12 engine design represents a sophisticated evolution of the traditional engine architecture. Unlike the W12 engines previously used by Bentley, which were essentially two VR6 engines combined, Porsche's design features a more complex configuration. It consists of two banks of cylinders arranged in a V-formation with a third bank of cylinders nestled between them, forming a distinctive 'W' shape. This intricate setup is designed to optimize airflow and performance, with each cylinder head equipped with intake and exhaust ports. These ports are connected to a strategically placed air plenum and exhaust gas discharge system, ensuring efficient air intake and exhaust flow. The design is such that air enters the intake channels in a direct line, minimizing curvature, which is intended to enhance engine efficiency and power output.

The decision by Porsche to pursue a new W12 engine is a fascinating one, especially as the industry heavily focuses on electric vehicles. This move could signal Porsche's commitment to maintaining a diverse portfolio that includes powerful internal combustion engines alongside its electric models. While Bentley's exit from the W12 engine market might suggest diminishing demand, Porsche's initiative indicates a belief in the enduring appeal of high-performance engines for a niche market segment. The W12's potential inclusion in Porsche's lineup suggests an ongoing demand for supercars powered by advanced internal combustion technology, catering to enthusiasts who appreciate the visceral experience of a traditional engine.

Industry experts are keenly watching to see if Porsche's W12 engine will make it to production. This patent filing could represent either a future innovation destined for Porsche's own vehicles or a strategic asset for the Volkswagen Group, which might integrate the technology across its brands. The uncertainty surrounding the engine's production status adds to the intrigue. If Porsche proceeds with production, it would underscore the brand's dedication to pushing boundaries in engine design and performance, potentially setting new benchmarks in the automotive industry.

For now, Porsche's W12 engine remains a concept, a tantalizing glimpse into what the future might hold for the brand. Its development reflects Porsche's broader strategy of balancing innovation with tradition, illustrating that while the future may be electric, the allure of a powerful internal combustion engine is far from obsolete. As the industry evolves, Porsche's approach could provide a template for how legacy performance car manufacturers adapt to changing market demands while satisfying the enduring passion of car enthusiasts.

#Porsche#W12 engine#patent#internal combustion#supercars
Priya Nair

About Priya Nair

Reports on manufacturing, labor and earnings with clear, practical context. Drives a Tesla Model 3 RWD; family hauler is a Volvo XC60.

Share

Reader Comments

3 comments

Share Your Thoughts

Join the discussion with other readers

0/280 charactersComments are moderated
T

TechSkeptic99

Oct 18, 2025
Porsche's W12 patent is interesting but seems counterintuitive in an EV-dominant market. Is this really an innovation or just an expensive engineering exercise? High compression ratios and thermal efficiency might not outweigh electrification trends.
C

CarLover27

Oct 18, 2025
This is exciting news! Porsche's W12 engine could redefine performance benchmarks in supercars. It's great to see that while the auto world pivots to EVs, high-performance combustion tech isn't being forgotten!
O

OldTimerMike

Oct 18, 2025
I remember my first ride in a W12 Bentley. Can't wait to see what Porsche does with it!

More from Industry

Mazda's Vision Model: A New Era for Rotary-Engined Sedans?
IndustryOct 19

Mazda's Vision Model: A New Era for Rotary-Engined Sedans?

Mazda has captured the automotive world's attention with its latest announcement of a concept four-door sedan, the 'Vision Model'. Scheduled to be unveiled at the Tokyo Auto Show later this month, this new vehicle has stirred excitement and speculation, particularly with rumors suggesting the return of Mazda's iconic rotary engine. The Vision Model promises not only to showcase innovative design but also to potentially revive a beloved piece of Mazda's engineering heritage.

By Priya Nair
Jetour Zongheng G700 PHEV: A New Era for Off-Road Vehicles
IndustryOct 19

Jetour Zongheng G700 PHEV: A New Era for Off-Road Vehicles

Chery's Jetour brand has launched its highly anticipated Zongheng G700 plug-in hybrid SUV, capturing attention with its impressive range, power, and unique features like an external oxygen generator. This hardcore off-road vehicle, with its innovative design and advanced technology, sets a new standard in the SUV market.

By Priya Nair
Toyota bZ3X Launches in Hong Kong, Setting a New Price Benchmark
IndustryOct 19

Toyota bZ3X Launches in Hong Kong, Setting a New Price Benchmark

Toyota has made a bold move in the Hong Kong automotive market by launching its new bZ3X electric SUV, priced at an unprecedented 229,600 HKD (approximately 29,500 USD). This launch marks the introduction of Toyota's most affordable vehicle in the region, undercutting the Sienta Luxury, the previous lowest-priced model. The bZ3X is a product of a collaboration between GAC-Toyota, GAC Group, and Toyota Motor Corporation, and it represents a significant step in Toyota's strategy to capture the burgeoning electric vehicle (EV) market in Hong Kong.

By Priya Nair
Spy Shots Unveil 2026 BYD Dolphin: A Leap in Range and Drive Dynamics
IndustryOct 19

Spy Shots Unveil 2026 BYD Dolphin: A Leap in Range and Drive Dynamics

In an intriguing development for electric vehicle enthusiasts, a heavily camouflaged prototype of the anticipated 2026 BYD Dolphin has been spotted on public roads in China. This glimpse into the future of one of China's favorite compact electric vehicles hints at significant upgrades that could redefine its market position.

By Priya Nair
Share